LisaHost(丽萨主机)是一家成立于2017年的VPS提供商,目前主要运作中国香港、美国、新加坡、日本、德国、韩国和英国机房的VPS业务,接入了三网CN2 GIA、三网AS9929、三网AS4837、国际BGP等线路,提供双ISP、住宅IP和原生IP,特别适合游戏、电商、视频等流媒体解锁,现在丽萨主机又推出了新型的美国家宽VPS,所以这里我们就详细测评下。
丽萨主机官网:点击直达

一、美国双ISP/住宅IP+三网AS9929
下面美国VPS方案默认分配双ISP家宽住宅原生IP,特别适合TikTok运营,宿主机带宽超大。支持解锁美区游戏、TikTok、ChatGPT、FB营销、WHATSAPP营销、亚马逊电商等流媒体服务,支持安装Windows。
| 方案 | CPU | 内存 | NVMe | 流量 | 带宽 | 租用价格 | 购买地址 |
| 精简版 | 1核心 | 1GB | 10GB | 1TB | 50Mbps | 68元/月 | 点此购买 |
| 基础版 | 1核心 | 1GB | 20GB | 2TB | 60Mbps | 88元/月 | 点此购买 |
| 进阶版 | 2核心 | 2GB | 40GB | 4TB | 80Mbps | 158元/月 | 点此购买 |
| 豪华版 | 4核心 | 4GB | 80GB | 8TB | 100Mbps | 388元/月 | 点此购买 |
| 不限流量Lite | 2核心 | 2GB | 40GB | 不限 | 20Mbps | 498元/月 | 点此购买 |
| 不限流量Pro | 4核心 | 4GB | 80GB | 不限 | 50Mbps | 1288元/月 | 点此购买 |
丽萨主机的美国家宽VPS拥有三网AS9929回程线路,提供最大100Mbps带宽,机房位于洛杉矶,拥有ISP类型原生IP,最低配置1核、1GB内存、10GB存储、1000GB流量,价格是68元/月,可以使用支付宝付款。下面我们就详细测评下这款美国家宽VPS的网络状况。
先看看IP类型是不是双ISP,测试结果如下所示:

可以看到IP类型确实是双ISP类型的。
下面我们看看我本地Ping平均延迟效果,如下所示:

我本地Ping平均延迟在188ms左右,网络还是非常稳定的,基本都没有丢包的情况。
下面我们我们看看全国三网Ping平均延迟效果,如下所示:

三网Ping平均延迟在180ms左右,其中电信网络延迟在175ms左右,联通网络延迟在176ms左右,移动网络延迟在189ms左右,三网延迟都非常的低。
接下来我们看看全球各地网络稳定性情况,如下所示:

从上面测试情况可以看到不管是国内节点还是海外节点,网络都是非常的稳定的,基本都没有丢包的情况。
下面我们看看三网去程路由情况。
电信去程路由:

联通去程路由:

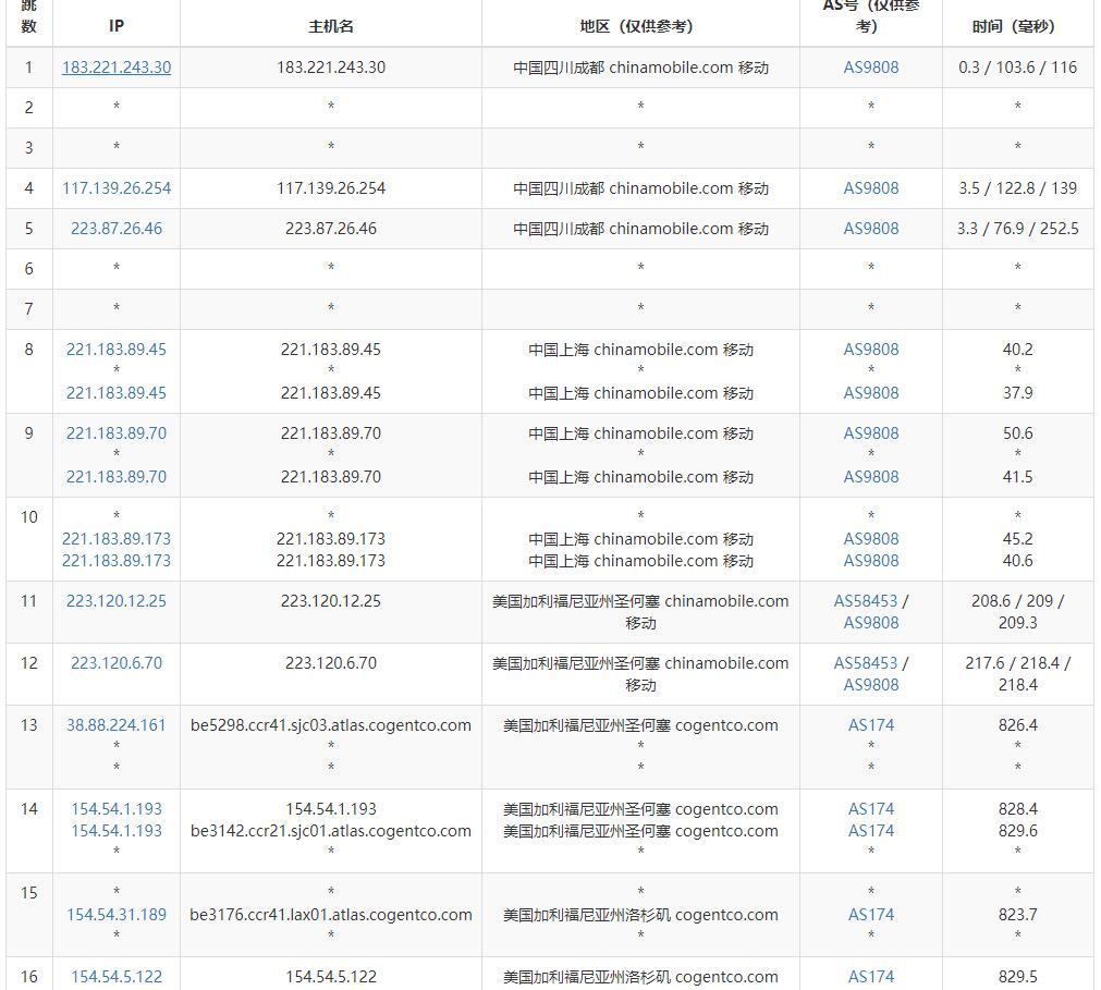
移动去程路由:

从测试结果得知,三网去程路由只是国内网口出去后,经过圣何塞节点到达洛杉矶机房。
我们再看看三网回程路由线路情况。
电信回程路由:

联通回程路由:

移动回程路由:

可以看到三网回程路由都是走的是AS9929优化线路直连回到国内网口,还是相当不错的。
下面我们看看这款美国家宽VPS的性能和速度怎么样,如下所示:

服务器使用的是主频为2.4GHz的CPU,磁盘I/O在470MB/秒左右,性能还是相当不错的。而上传和下载速度各个节点基本都跑满了100Mbps,
以上就是关于丽萨主机美国家宽VPS的测评介绍,这款美国家宽VPS拥有三网AS9929回程线路,价格非常的便宜,有需要可以前往丽萨主机官网(点击直达)参考选购。







